Schodišťový vypínač ze 3 míst a další zapojení
Co jste nevěděli o schodišťovém vypínači. Jak ovládat světla ze tří a více míst? Zapojení schodišťového vypínače, křížového vypínače. Selektivní zapínání světel. Vypínač s doutnavkou. Přehledná schémata zapojení, volby kabelů a připojení bezšroubových přístrojů ABB. AKTUALIZOVÁNO.
Obecné informace a schémata vypínačů všech řazení jsme vám přinesli v průvodci zapojení vypínačů. Nyní se pojďme podívat, jak zapojit schodišťový vypínač.
Jak zapojit 2 schodišťové vypínače?
Spínač řazení č.6 známější jako schodišťový vypínač nebo střídavý vypínač je velice užitečný. Vypínač č.6 umožňuje zapínat a vypínat osvětlení (obecně spotřebič) ze dvou míst současně. Tento vypínač č.6 funguje jako dvojpólový přepínač. Jak zapojit dva vypínače řazení č.6 pro jednoduché schodiště nebo dlouhou chodbu? To ukazují následující schémata.
Pamatujte, že mezi vypínači potřebujete vždy alespoň dva vodiče, protože jsou ve funkci přepínačů. Přepínač má jeden "vstup" a dva nebo více "výstupů", mezi kterými přepíná.
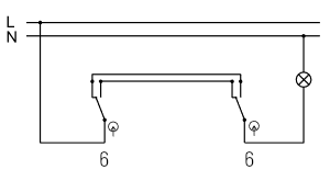
Zapojení ovládání světla ze 2 míst pomocí vypínačů řazení č.6: vlevo zjednodušené schéma, uprostřed elektrické schéma, vpravo elektroinstalační schéma.
Co budete potřebovat?
- 2x střídavý "schodišťový" přepínač č.6, např. ABB 3559-A06345 nebo alternativní.
- Instalační krabice: 2x přístrojová krabice KP68 (pro vypínače), 1x rozvodná/odbočná inštalační krabice (pro odbočky).
- Kabely CYKY potřebné délky: CYKY-J 3x1,5 ke světlu s uzemněním, CYKY-O 3x1,5 k vypínačům.
- Bezšroubové rychlosvorky WAGO pro průřez do 2,5mm2 nebo šroubovou svorkovnici tvaru "věnec".
- Stavební materiál, jako sádru.
TIP: Chybí vám vhodné nářadí ? Vybavte se šroubováky, kleštěmi, korunkovým vrtákem do zdiva i sekáčem SDS+.
TIP: Místo kabelu CYKY můžete použít plochý CYKYLo, vhodný přímo pod omítku nebo do lišty. Jsou dostupné také ve variantách s/bez zelenožlutým vodičem.
Jak zapojit 3 schodišťové vypínače?
Při ovládání světla ze tří a více míst už nám nestačí jen střídavé vypínače č.6. Potřebujeme také křížový vypínač č.7, který má nezastupitelnou úlohu právě ve schodišťových zapojeních v budovách s více poschodími. Tento vypínač řazení č.7 funguje jako dvojitý střídavý přepínač se společnou klapkou. Při správném řazení tří vypínačů č.6, 7, 6 docílíme zapínání a vypínání osvětlení (obecně spotřebiče) ze tří míst současně. Jak zapojit tři vypínače řazení č.6 a č.7 pro vícepatrové schodiště? To ukazují následující schémata.
První a třetí vypínač je č.6, prostřední vypínač je č.7. Křížové vypínače jsou již vybaveny propojením vývodů "křížem". Na takovém křížovém vypínači se tedy stačí podívat, které dva kontakty jsou vstupy (IN) a které dva jsou výstupy (OUT). Zapojení je jinak intuitivní. I zde platí, že kabel mezi vypínači musí mít alespoň dva vodiče. Názorně je vše vidět na schématech níže.
Zapojení ovládání světla ze 3 míst pomocí vypínačů řazení č.6 a č.7: vlevo zjednodušené schéma, uprostřed elektrické schéma, vpravo elektroinstalační schéma.
Co budete potřebovat?
- 2x střídavý "schodišťový" přepínač č.6, např. ABB 3559-A06345 nebo alternativní.
- 1x křížový přepínač č.7, např. ABB 3559-A07345 nebo alternativní.
- Instalační krabice: 3x přístrojová krabice KP68 (pro vypínače), 1x rozvodná/odbočná inštalační krabice (pro odbočky).
- Kabely CYKY potřebné délky: CYKY-J 3x1,5 ke světlu s uzemněním, CYKY-O 3x1,5 k vypínačům.
- Bezšroubové rychlosvorky WAGO pro průřez do 2,5mm2 nebo šroubovou svorkovnici tvaru "věnec".
- Stavební materiál, jako sádru.
TIP: Chybí vám vhodné nářadí ? Vybavte se šroubováky, kleštěmi, korunkovým vrtákem do zdiva i sekáčem SDS+.
TIP: Místo kabelu CYKY můžete použít plochý CYKYLo, vhodný přímo pod omítku nebo do lišty. Jsou dostupné také ve variantách s/bez zelenožlutým vodičem.
Jak zapojit 4 schodišťové vypínače?
Ovládání světla ze 4 míst je analogické ovládání světla ze 3 míst. Stačí zařadit další křížový vypínač č.7 vedle předchozího vypínače č.7. Při správném řazení čtyř vypínačů č.6, 7, 7, 6 docílíme zapínání a vypínání osvětlení (obecně spotřebiče) ze čtyř míst současně. Jak zapojit čtyři vypínače řazení č.6 a č.7 pro vícepatrové schodiště? To ukazují schémata níže.
První a čtvrtý vypínač je č.6, ostatní vypínače jsou č.7. Toto zapojení ovládání ze 4 míst je analogické předchozímu zapojení ovládání ze 3 míst. Jen za křížový vypínač přidáte další křížový vypínač. I zde platí, že kabel mezi vypínači musí mít alespoň dva vodiče. Názorně je vše vidět na schématech níže.
Zapojení ovládání světla ze 4 míst pomocí vypínačů řazení č.6 a č.7: vlevo zjednodušené schéma, uprostřed elektrické schéma, vpravo elektroinstalační schéma.
Co budete potřebovat?
- 2x střídavý "schodišťový" přepínač č.6, např. ABB 3559-A06345 nebo alternativní.
- 2x křížový přepínač č.7, např. ABB 3559-A07345 nebo alternativní.
- Instalační krabice: 4x přístrojová krabice KP68 (pro vypínače), 1x rozvodná/odbočná inštalační krabice (pro odbočky).
- Kabely CYKY potřebné délky: CYKY-J 3x1,5 ke světlu s uzemněním, CYKY-O 3x1,5 k vypínačům.
- Bezšroubové rychlosvorky WAGO pro průřez do 2,5mm2 nebo šroubovou svorkovnici tvaru "věnec".
- Stavební materiál, jako sádru.
TIP: Chybí vám vhodné nářadí ? Vybavte se šroubováky, kleštěmi, korunkovým vrtákem do zdiva i sekáčem SDS+.
TIP: Místo kabelu CYKY můžete použít plochý CYKYLo, vhodný přímo pod omítku nebo do lišty. Jsou dostupné také ve variantách s/bez zelenožlutým vodičem.
Zapojení 5 a více schodišťových vypínačů
Zapojení osvětlení ovládané 5 a více vypínači je analogické předchozímu zapojení ovládání ze 4 míst. Jen přidáte za vypínač č.7 další vypínač č.7. Dodržujete stejné zapojení křížových vypínačů. Takto můžete dosáhnout libovolně dlouhého řetězení, kdy každý z vypínačů má funkci zapnutí i vypnutí připojeného světla.
Jak zapojit doutnavku či orientační LED?
Orientační doutnavky svítí když je spotřebič ve vypnutém stavu. Slouží ke snadnému nalezení vypínače. Proto se orientační doutnavky případně orientační LED připojují paralelně k "výstupům" vypínače. Některé vypínače jako např. spínací přístroje ABB mají uprostřed otvor kam lze jednoduše vsunout jednu z doutnavek - podle barvy. Jiné vypínače, např. Schneider Electric Asfora nebo Schneider Electric Unica, jsou již kompletní, výrobce je dodává ve variantách bez doutnavky a s doutnavkou.
Zapojení orientační doutnavky: elektrické schéma vypínač s doutnavkou 6So a 7So.
Rady a tipy při montáži
- Do tmavé chodby si vyberte vypínače s orientační doutnavkou. Vypínače řazení č. 6So a 7So lze doplnit o orientační doutnavku. Některé vypínače, jako třeba Schneider Unica 6So a 7So mají orientační doutnavku již vestavěnou.
- Když svítidlo bliká s vypínačem s orientační doutnavkou nebo LED? Někdy se může vyskytnout problém blikání či poblikávání úsporných svítidel (LED svítidla, kompaktní zářivky) způsobených orientační doutnavkou ve vypínači. Řešením je zařadit paralelně ke svítidlu kompenzátor. Doporučujeme univerzální kompenzátor ABB 2CKA006599A2290 který potlačuje zvlňění napětí, potlačuje pískání elektronických transformátorů a je vhodný k vypínačům 1So, 6So, 7So, ke stmívačům apod.
- Ke snadnému propojování vodičů používejte bezšroubové WAGO svorky. Šetří čas montáže i místo. Díky menším rozměrům se lépe instalují, jsou bezpečné a usnadní budoucí změnu zapojení.
- Závěrem: Při každé elektroinstalaci si vše promyslete dopředu. Zhotovte plán, výkresy, konzultujte s odborníkem. Myslete na budoucí potřeby, ČSN normy a správné dimenzování a bezpečnost. Průřez vodičů, stupeň krytí IP, správné instalační krabice a lišty pro daný povrch a materiál (např. sádrokarton, cihlovou zeď, dřevo, nebo instalace na omítku. Důležité je také zvážit stupeň nehořlavosti elektroinstalačních prvků nebo použití bezhalogenových materiálů.